摘要:本文为建筑物防雷设计规范 GB50057-2010:J.2 用于电子系统的电涌保护器,内容详情如下,如需查看更多消防工程师消防规范标准,敬请关注希赛网消防工程师频道。
J.2.1 电信和信号线路上所接入的电涌保护器的类别及其冲击限制电压试验用的电压波形和电流波形应符合表J.2.1的规定。
表J.2.1 电涌保护器的类别及其冲击限制电压试验用的电压波形和电流波形

J.2.2 电信和信号线路上所接入的电涌保护器,其最大持续运行电压最小值应大于接到线路处可能产生的最大运行电压。用于电子系统的电涌保护器,其标记的直流电压UDc也可用于交流电压UAc的有效值,反之亦然,
。
J.2.3 合理接线应符合下列规定:
1 应保证电涌保护器的差模和共模限制电压的规格与需要保护系统的要求相一致(图J.2.3-1)。

图J.2.3-1 防需要保护的电子设备(ITE)的供电电压输入端及其信号端的差模和共模电压的保护措施的例子
(c)—电涌保护器的一个连接点,通常,电涌保护器内的
所有限制共模电涌电压元件都以此为基准点;
(d)—等电位连接带;(f)—电子设备的信号端口;(g)—电子设备的电源端口;
(h)—电子系统线路或网络;(l)—符合本附录表J.2.1所选用的电涌保护器;
(o)—用于直流电源线路的电涌保护器;(p)—接地导体;
Up(C)—将共模电压限制至电压保护水平;Up(D)—将差模电压限制至电压保护水平;
X1、X2—电涌保护器非保护侧的接线端子,在它们之间接入(1)和(2)限压元件;
Y1、Y2—电涌保护器保护侧的接线端子;
(1)—用于限制共模电压的防电涌电压元件;(2)—用于限制差模电压的防电涌电压元件
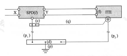
2 接至电子设备的多接线端子电涌保护器,为将其有效电压保护水平减至最小所必需的安装条件,见图J.2.3-2。

图J.2.3-2 将多接线端子电涌保护器的有效电压保护水平减至最小所必需的安装条件的例子
(c)—电涌保护器的一个连接点,通常,电涌保护器内的所有限制
共模电涌电压元件都以此为基准点;
(d)—等电位连接带;(f)—电子设备的信号端口;
(l)—符合本附录表J.2.1所选用的电涌保护器;(p)—接地导体;
(P1)、(P2)—应尽可能短的接地导体,当电子设备(ITE)在远处时可能无(P2);
(q)—必需的连接线(应尽可能短);
X、Y—电涌保护器的接线端子,X为其非保护的输入端,Y为其保护侧的输出端
3 附加措施应符合下列规定:
1)接至电涌保护器保护端口的线路不要与接至非保护端口的线路敷设在一起。
2)接至电涌保护器保护端口的线路不要与接地导体(p)敷设在一起。
3)从电涌保护器保护侧接至需要保护的电子设备(ITE)的线路宜短或加以屏蔽。
4 雷击时在环路中的感应电压和电流的计算应符合本规范附录G的规定。
条文说明
J.2 用于电子系统的电涌保护器
J.2.1 表J.2.1是根据IEC 61643—21 Ed.1.1:2009[Low-volt-age surge protective devices—Part 21:Surge protective devices connected to telecommunications and signaling networks—Per-formance requirements and testing methods.低压电涌保护器,第21部分:电信和信号网络的电涌保护器(SPD)——性能要求和试验方法]第27页的“表3 冲击限制电压试验用的电压波形和电流波形”制定的。
J.2.3 图J.2.3-1是根据IEC 61643—22:2004的7.3.1.4的图5制定的。而图J.2.3-2是根据IEC 61643—22:2004的7.3.2.2的图8制定的。
注册消防工程师备考资料免费领取
去领取
专注在线职业教育25年